Вещество CH
Военные шифры: СН, CHT, ЕА 4923 [амер.], T4423 [англ.], GG [канад.]
1-метокси-1,3,5-циклогептатриен
Химические названия: 1-methoxy-1,3,5-cycloheptatriene, methoxycycloheptatriene, 1-methoxytropilidene, 1-MCHT
Относится к сравнительно новой группе алгогенов — веществам раздражающего действия, вызывающим выраженную болевую реакцию при попадании на кожу или слизистые оболочки в виде жидкости или пара. Главным преимуществом алгогенов считается возможность поражения защищенного противогазом противника. Пары CH воздействуют не только на открытые участки тела, но и способны проникать сквозь одежду вызывая нестерпимую боль. При этом, в отличие от других ирритантов, алгогены никогда не вызывают ожогов кожи. Кроме CH, к алгогенам часто относят вещество CR, реже — капсаицин и его производные.
Предшественник вещества CH — 1,3,5-циклогептатриен был впервые синтезирован в XIX веке из алкалоида тропина, от которого и получил название тропилиден. Это вещество оказывает раздражающее действие на кожу, а его пары вызывают слезотечение.
Вещество CH (такой шифр получил 1-метокси-1,3,5-циклогептатриен), было впервые cинтезировано в США в 1962 году[5,29], но остается неясным, как были обнаружены его раздражающие свойства — случайно, или в ходе целенаправленного поиска новых ирритантов. Впервые синтез вещества CH был описан в статье O.L Chapman и G.W. Borde из Университета штата Айова в 1963 году[4], но ни в этой, ни в последующих работах физиологические эффекты этого вещества не упоминаются[2,3,7]. Токсикологические исследования с участием добровольцев проводились в военно-медицинской лаборатории Эджвудского арсенала в 1969–1971 годах[10].
Вещество CH изучалось в качестве перспективного ирританта в США (1969–1985)[10,29], в Великобритании (1974–1985)[14], Австралии (1971–1972)[29] и в Канаде (1979–1983)[9,17]. В России изучением CH занимались в ГосНИИОХТе (1997)[16] и ООО ПКП "Агентство коммерческой безопасности" (2008)[22].
Также планировалось применять CH в качестве тренировочного ирританта, для имитации работы подразделений химзащиты в очагах применения ОМП. В США для проверки исправности и подгонки противогазов используется вещество CS, а в России все еще применяется довольно токсичный хлорпикрин. Однако эти ирританты годятся только для проверки противогазов и не позволяют оценить герметичность защитных костюмов. А вот CH почти идеально подходит для этих целей, его пары способны проникать даже через мельчайшие щели, вызывая жжение и боль, что позволяет быстро выявлять погрешности в защитном обмундировании. В 90-е годы Корпус морской пехоты США собирался перейти на использование CH в качестве тренировочного ирританта, но в последний момент все же решили отдать предпочтение более известному и проверенному веществу CS[23]. В Великобритании, после более чем 10-летнего изучения CH, также признали, что «преимущества применения 1-метоксициклогептатриена незначительные по сравнению с такими традиционными сенсорными ирритантами как CS»[14].
В последние годы правоохранительным органам разных стран все чаще приходится сталкиваться со все более и более подготовленными нарушителями порядка, имеющих в распоряжении не только самодельные, но и профессиональные средства химической защиты (противогазы, респираторы, перчатки и др.) против которых стандартные «полицейские газы» оказываются неэффективными. В качестве примера можно привести захват заложников в школе г. Бислана в 2004 году, когда хорошо подготовленные террористы имели при себе достаточное количество противогазов.
Уличные массовые протесты в Турции (2013), Венесуэле (2014), Украине (2015) и Гонконге (2019) также показали высокую подготовку участников к противодействию спецсредствам полиции при помощи средств защиты органов дыхания и зрения как промышленного, так и самодельного изготовления.
В последнее время наблюдается интерес к CH со стороны российских правоохранительных органов. В 2015 году, на конференции «Спецсредства нелетального действия», в одном из представленных докладов отмечается, что «события на Евромайдане показали, что эффективность применения штатных специальных средств слезоточивого действия (ССОД) по зачинщикам беспорядков, имеющих средства индивидуальной защиты органов дыхания (СИЗОД) фильтрующего типа (ПМГ-2, ПМК, ГП-5, ГП-7, респираторы и др.) приближается к нулю». Авторы доклада считают, что альтернативой имеющимся в арсенале МВД раздражающим веществам может стать ирритант CH[6].

Во время уличных беспорядков в Турции и Венесуэле демонстранты защищались от действия слезоточивого газа с помощью простых, но эффективных подручных средств. Обычные «полицейские газы» в этих случаях оказались бесполезными.
Физико-химические свойства: бесцветная жидкость кипящая при 117ºС. Разрушается под действием света и кислорода воздуха, приобретая со временем желтоватую окраску. Для длительного хранения необходимо добавление антиоксидантов. Высокая летучесть — 8400 мг/м3 позволяет за счет естественного испарения быстро создавать непереносимую концентрацию, как в закрытых помещениях, так и на открытой местности при температуре выше 4ºС. CH хорошо растворяется в большинстве органических растворителей. Способен проникать не только через кожу, но и через резину[10].
| Вещество CH | |
|---|---|
| Высокая концентрация паров CS может вызывать химический ожог кожи с образованием волдырей. | Пары CH вызывают лишь кратковременное, до 1 часа, покраснение кожи. |
| Используемые для распыления пиротехнические составы могут вызывать ожоги, повреждение имущества и пожары. | Устройства для возгонки CH не требуют нагрева, более просты и безопасны в обращении. |
| Для удаления остатков CS с предметов и поверхности кожи необходимо использовать специальные растворы. Это требует дополнительных усилий и времени, особенно при массовых поражениях. | Дегазация CH не требуется. Для удаления остатков ирританта достаточно непродолжительного проветривания. |
| CS легко поглощается одеждой, чем продлевает его действие на пораженного и окружающих его людей. Это затрудняет транспортировку арестованного в патрульной машине. От вторичных эффектов могут страдать и другие задержанные находящиеся с ним в одной камере. | Благодаря высокой летучести CH быстро испаряется с поверхности кожи и тканей одежды. |
| Поражает только открытые участки тела. Раздражение кожи переносимо. Для защиты достаточно противогаза. | Проникает через одежду. Противогаз не защищает. |
| Слезотечение проходит через несколько минут, боль исчезает через 15 минут после экспозици. | Эффект CH длится не менее 30 мин. |
Вещество CH, в отличие от хлорацетофенона и CS, не вызывает тяжелых химических ожогов и не требует термической возгонки.
Недостатками CH являются его химическая нестабильность и достаточно сложный и дорогостоящий синтез, не позволяющий получить чистый продукт. Дополнительного изучения требует безопасность этого ирританта для человека.
7-метоксициклогепта-1,3,5-триен — изомер вещества CH был впервые синтезирован W. Von E. Doering et al. в 1954 году[2], в 1963 году O. L. Chapman et al, сообщили о фотоизомеризации 7-метоксициклогепта-1,3,5-триена в его 1-метокси-изомер[4], а в 1974 году японские химики обнаружили, что при нагревании до 450°C, он количественно трансформируется в вещество CH[3].
В 1962 году W. E. Parham et al. синтезировали этокси-гомолог вещества CH исходя из циклогексанона[1], а в 1965 год D. G. Lindsey и C. B. Reese этим же путем получили вещество CH с выходом 33%[7].
Позже, в 1989 году, этот метод синтеза был усовершенстован в Канаде, где подбором растворителя и катализатора удалось увеличить выход вещества CH до 62%[9].
В США вещество CH получали по другой методике, где в качестве исходного продукта использовался тетрафторборат тропилия. Этот способ позволял получить вещество CH чистотой 92-94% с выходом 70-75%[8].
По этому способу в 1997 году в Государственном научно-исследовательском институте органической химии и технологии (ГосНИИОХТ) были синтезирован 7-метокси-1,3,5-циклогептатриен и ряд его производных, в которых оксиметильная группа замещена на тиоспиртовую, циано-, или малононитрильную группы. Вместо тетрафторбората использовался более доступный гексахлорфосфат-хлорид, методика получения которого была разработана Д. Н. Курсановым и М. Е. Вольпиным (1957). Полученные вещества представляли собой жидкости с острым раздражающим запахом. Данные о токсичности не представлены[16].
Токсичность. По данным американских авторов средняя выводящая из строя концентрация IC50 — от 25 до 50 мг·мин/м3[15], в экспериментах канадских исследователей IC50 оказалась немного ниже 11–12 мг·мин/м3, ни один из испытуемых не смог выдержать воздействия паров CH в этой концентрации дольше 3 минут[17]. В случае использования средств защиты органов дыхания и глаз, для болевого воздействия на кожу необходимо увеличение концентрации до 100 мг·мин/м3.
CH безопасен, не обладает мутагенным и канцерогенным действием, не вызывает долговременных поражений глаз и дыхательных путей. Биохимические и клинические анализы, взятые у добровольцев сразу после эксперимента, не выявили каких-либо патологических изменений. В отличие от перцовых аэрозолей вещество CH в 10 раз реже вызывает аллергические реакции[23]. Тем не менее, для подтверждения безопасности CH требуются дополнительные исследования. В экспериментах на животных выявлено, что при внутривенном введении в дозах свыше 10 мг/кг, вещество CH вызывает поражение клеток мозжечка у собак[11]. В то же время обезьяны переносят безо всяких последствий концентрацию в 2 000 раз превышающую средневыводящую из строя (IC50) для человека[10].
Клиника отравления: Противогаз и обычная одежда не защищают от CH. При воздействии на кожу паров или раствора CH человек ощущает сильную боль и покраснение, напоминающие ожог I степени, без образования пузырей. Болевая реакция настолько интенсивная, что человек не в состоянии переносить боль дольше нескольких минут и вынужден, как можно скорее, покинуть очаг поражения. Чувство жжения в глазах и слезотечение появляются не сразу, а примерно через 40 секунд, но раздражение глаз и дыхательных путей слабее, чем при воздействии других ирритантов[15].
В случае если человек использует для защиты противогаз, действие CH наступает позже, через 15 минут после воздействия паров CH появляется сильное жжение кожи под одеждой, особенно под мышками, в паху и на потных участках тела, а через 20 минут боль становится совершенно невыносимой.
На свежем воздухе уже через несколько минут прекращается слезотечение, через 15–20 минут проходит боль, а через 1 час исчезает и покраснение кожи[17].
| Характеристика | Вещество CS |
Вещество CR |
Вещество CH |
|---|---|---|---|
| Летучесть при 20ºС (мг/м3) | 0,36 | 0,63 | 8484 |
| ICt50 Средняя выводящая из строя концентрация для человека (мг·мин/м3) |
6,9 | 0,15 | около 50 |
| LCt50 Среднесмертельная концентрация (морская свинка, мг·мин/м3) |
36 439 | 169 000 | 176 000 |
| LCt50 Среднесмертельная концентрация (собака, мг·мин/м3) |
29 748 | 57 171 | 63 322 |
По данным T. C. Simmons et al.,(1976)[10]
Применение: Так как эффективная раздражающая концентрация CH достигается при естественном испарении, нет необходимости в термических или механических генераторах аэрозолей. Предпочтительней использование специальных рецептур, в состав которых также входят антиоксидант и растворитель. Предложенная канадскими химиками рецептура имела следующий состав: вещество CH, антиксидант ионол, изопентан в соотношении 1:0,5:100[17].

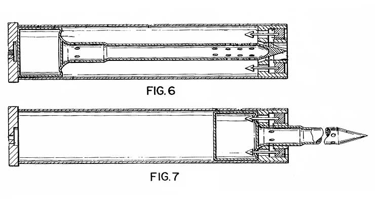
Прототип устройства для распыления CH внутри закрытых помещений (G.A. Grant, 1986)
Для быстрого распыления СН под давлением за преградой (стеной, дверью и т.п.) были разработаны прототипы специальных снаряды[17]. Также растворы CH планировалось использовать в генераторах специальной «жгучей пены» для защиты от несанкционированного доступа к объектам[24]. CH может применяться в комбинации с психотомиметиками группы BZ для усиления их способности наносить поражения через одежду[12]. Добавление к CH вещества повышающего проницаемость кожи (ДМСО) усиливает раздражающее действие в 1,5 раза[26].
Дегазация не требуется и это одно из важных преимуществ CH перед другими ирритантами. Он не задерживается в тканях одежды, обивке мебели, шторах, драпировке и т.п. Даже после применения CH в помещениях, достаточно от 30 мин до часа проветривания, чтобы его действие перестало ощущаться. Чтобы удалить твердые ирританты CN и CS только с помощью одного проветривания потребуется больше года[25].
1,5-циклооктадиен. Жидкость с неприятным запахом. Пары вызывают сильное раздражение слизистых оболочек, при попадании на кожу возникает воспалительная реакция, которая может закончиться некрозом. При попадании в глаза развивается болезненный, но непродолжительный конъюнктивит и гнойный блефарит, который может сохраняться несколько дней[18]. Аналогично действует циклододека-1,5,9-триен, но блефарит протекает тяжелее[19].
![]() |
![]() |
![]() |
![]() |
| 1,5-циклооктадиен | циклододека-1,5,9-триен | 1,3,5-циклогептатриен | 1,2,5,6-дибенз-1,5-циклооктадиен |
1,3,5-циклогептатриен (Tropilidene; CHT) — оказывает слезоточивое действие, но не вызывает повреждения глаз. Раздражение кожи протекает, в отличие от других циклоолефинов, без последующей сенситизации[20].
1,2,5,6-дибенз-1,5-циклооктадиен. Это вещество обладает слезоточивым действием[21].
EA 4922 — 3-метокси изомер CH оказывает похожее, но более слабое действие. 7-метокси изомер может вызвать более серьезные поражения, такие как кератит или лейкома[14].



